El ingeniero de la NASA que inventó la pistola de agua más poderosa del mundo

Fuente de la imagen, AP
- Autor, Redacción
- Título del autor, BBC Mundo
Lonnie Johnson creció en Mobile, Alabama, en la década de 1960, cuando no se esperaba que un niño negro llegara demasiado lejos.
Pero su talento para la ingeniería era tal que llegó a trabajar para la NASA y ayudó a probar el primer avión indetectable por radar.
Sin embargo, el invento que le hizo millonario fue una pistola de agua: la súper poderosa Super Soaker, como explica en este texto.
Siempre me gustó jugar con cosas.
Todo empezó con mi padre. Él me dio mi primera lección de electricidad, explicándome que se necesitan dos cables para que circule la corriente eléctrica, uno para que entren los electrones y el otro para que salgan.
Y me enseñó cómo reparar planchas y lámparas y cosas por el estilo.
Los niños del barrio empezaron a llamarme "El Profesor". Teníamos pequeños proyectos y yo era el cabecilla.
En mi último año de secundaria, construí un robot y lo presenté a una feria de ingeniería juvenil.
El robot se llamaba Linex, tenía un metro de alto, sus hombros podían rotar y tenía dos brazos con codos y muñecas que giraban.

Fuente de la imagen, Lonnie Johnson
Linex y yo quedamos primeros en la feria científica y yo conseguí una beca en las Fuerzas Aéreas y otra de matemáticas en la Universidad Tuskegee.
Terminé la carrera en ingeniería mecánica y me gradué con una maestría en ingeniería nuclear.
En 1975, me llamaron de las Fuerzas Aéreas para estudiar las lanzadoras espaciales que funcionaban con energía nuclear.
Lo que hacíamos es dar apoyo técnico para las recomendaciones de lanzamiento que se enviaban luego al presidente.
Tras presentar un análisis que identificaba un posible fallo que la NASA no había detectado, me invitaron a participar en la Misión Galileo, la nave no tripulada enviada para estudiar Júpiter y sus lunas.
Así que en 1982 tenía un trabajo divertido con todas esas naves espaciales en Pasadena, California, pero durante todo ese tiempo yo seguí jugando con mis propias ideas.
En ese momento, estaba experimentando con un nuevo tipo de sistema de refrigeración que utiliza agua en lugar de los CFCs (clorofluorocarbonos) que destruían la capa de ozono.

Fuente de la imagen, Getty Images
Una tarde, construí una boca de manguera y la conecté con el lavabo del baño, donde estaba haciendo algunos experimentos.
Salió un potente chorro de agua a través del lavabo. ¡Y de ahí saqué la idea de lo divertida que sería una pistola de agua que fuera potente!
Pero todavía tenían que pasar meses hasta que empezara a hacer algo con esa idea.
Fuerzas Aéreas
Me volví a unir a las Fuerzas Aéreas y trasladé a mi familia conmigo a una base militar en Nebraska.
Me convertí en el primer ingeniero del Comando Aéreo Estratégico, responsable de identificar objetivos nucleares, dedicado a probar el B-2 Bomber, el bombardero furtivo.
Entonces me puse a fabricar partes de la pistola de agua de plástico con un pequeño torno y una máquina fresadora en el sótano de mi casa.
Realmente no sabía si la magia que tenía en mi cabeza se iba a materializar hasta que todas las partes estuvieran juntas y yo pudiera accionar el gatillo.
Le di la pistola de plástico a mi hija de siete años, Aneka, y observé cómo la utilizaba para jugar con los otros niños de la base.
No podían ni acercarse a ella con sus pequeñas pistolitas de chorro.
Pronto me di cuenta de que mi prototipo de pistola de agua era excelente para romper el hielo en las reuniones sociales.
Me la llevé a un picnic de las Fuerzas Aéreas un día y un oficial superior, un mayor, la vio y dijo: "¿Qué es eso que tienes ahí, Johnson?



Y le dije: "Es mi pistola de agua, señor". Y me contestó que tenía un aspecto muy raro. "¿Funciona?", preguntó.
Así que me di la vuelta y le disparé justo entre los ojos. Tras lo cual el picnic se acabó: todo el mundo empezó a lanzar vasos de agua, de cerveza...
Alianza
Mi idea inicial fue fabricar la pistola yo mismo. Una fábrica me dijo que costaría US$200.000 sacar las primeras 1.000 pistolas de la línea de producción.
Yo no tenía US$200.000, así que me di cuenta de que tenía que entrar en una asociación estratégica con una empresa de juguetes.
Empezaron entonces siete años de frustración y comienzos falsos. Pero sé qué pasa conmigo, nunca se me ha dado bien renunciar.
Luego, en febrero de 1989, estaba caminando por la Feria Internacional de Juguetes de Estados Unidos, en Nueva York, la más grande del mundo, cuando encontré una empresa llamada Larami.
En aquel momento eran vendedores de imitaciones: veían lo que hacían las grandes empresas de juguetes y los que tenían anuncios en televisión, hacían copias baratas y así se apoderaban del 10% del mercado.
En la feria el vicepresidente de la empresa me dijo que la idea de una pistola de agua de gran alcance era interesante.
"No puedo revisar el producto aquí, pero si alguna vez pasas por Filadelfia, donde está nuestra sede, estaré encantado de hablar contigo".
"Ok, fenomenal", dije. Pero mientras me daba la vuelta para irme, me llamó y dijo: "Por cierto, no hagas un viaje especial para eso".

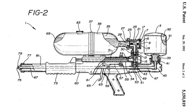
Fuente de la imagen, Johnson R&D
Un nuevo modelo
A pesar de estas palabras, en cuanto llegué a casa empecé a trabajar en un nuevo prototipo.
El nuevo modelo estaba hecho de plexiglás y tubos de PVC, e incorporaba un nuevo diseño: en lugar de mantener el agua dentro de la pistola, la botella de soda de dos litros iba encima y funcionaba como reservorio de agua.
Tenía un largo de 628 milímetros. El diámetro del chorro era de 2,4 milímetros y podían alcanzar los 12 metros.
Me llevó un par de semanas fabricar el modelo, luego llamé a Larami y dije: "Resulta que voy a estar pronto por su zona...".
Recuerdo estar sentado en la sala de conferencias con el presidente y vicepresidente y alguna gente de márketing.

Abrí mi maleta, saqué la pistola y la disparé en la sala. Y dijeron: "¡Guau!".
Supe que había logrado capturar su imaginación, pero teníamos por delante el reto de la comercialización.
Esta pistola era más complicada que las pistolas de chorro que había en el mercado y costó mucho bajar el precio por debajo de los US$10.
E incluso con este precio, no estábamos seguros de que alguien fuese a pagar eso por una pistola de agua.
En 1990, la pistola llegó a las tiendas de juguetes.
Se llamó Power Drencher. Al principio no utilizamos márketing ni anuncios en la televisión, pero igual se vendió bien.
Al año siguiente, le cambiamos el nombre a Super Soaker y le dimos un buen empujón en televisión.
Ese fue el verano que vendimos 20 millones de pistolas y recuerdo estar viendo mi cheque de regalías sin podérmelo creer.
Controversia
Ahora parece raro, pero en 1992 el Super Soaker era bastante controvertido.
Hubo un par de incidentes trágicos. En una ocasión, unos niños le dispararon a alguien con una Super Soaker y esa persona respondió disparando con un arma de verdad.

Fuente de la imagen, Chris Reid
Otra vez, una pelea con agua en Boston creció hasta convertirse en una pelea real con armas y murió un adolescente.
También hubo reportes de personas que la usaron de formas raras, por ejemplo llenándolas con lejía en vez de con agua.
El alcalde de Boston intentó introducir una prohibición voluntaria de las ventas.
Un día recibí una llamada de un periodista de esa ciudad que, con una voz seria y grave, me dijo: "Tenemos informaciones de que se están utilizando Super Soakers en disparos desde autos y nos preguntamos si quiere decir algo".
No sabía qué decirle. Al final, le dije: "Bueno, creo que deberíamos ver más de eso".
En mi cabeza, sentía que mi trabajo con pistolas de juguete era probablemente menos dañino que el que había hecho con sistemas reales de armamento.
Luego hubo otras generaciones de Super Soakers, y yo diseñé las pistolas de dardos Nerf, con tecnología similar de aire comprimido.
Al ser un juguete que se vende durante todo el año, hice todavía más dinero con las pistolas Nerf que el que había hecho con la Super Soaker.
No me compré un yate ni nada de eso. He gastado el dinero en algo mucho más interesante, o al menos para mi.
He construido unas instalaciones científicas en Atlanta en las que trabajan unas 30 personas.

Fuente de la imagen, Getty Images
En nuestras oficinas, tenemos muchos juguetes dando vueltas y de vez en cuando jugamos con ellos.
También las llevo a las escuelas cuando voy a dar charlas. Los niños necesitan estar expuestos a ideas, y necesitan que les den la oportunidad de experimentar el éxito.
Una vez que tienes ese sentimiento, crece solo. Pero algunos niños tienen que superar los ambientes y las actitudes que les han sido impuestos.
A pesar de las cosas que han sido perpetradas sobre mi raza, como mantenernos bajo la esclavitud, luego prohibirnos la educación y someternos a discriminación durante mucho tiempo, igualmente hemos logrado el éxito.
Solo tenemos que ser conscientes de lo que somos capaces.
Se han lanzado unos 170 modelos de Super Soaker, que han ingresado más de US$1.000 millones.
Durante un tiempo intenté comprar todos los juguetes que contenían una de mis patentes, pero no podía mantener el ritmo.
Cuando acabe con toda la ciencia dura en la que estoy trabajando, tengo ganas de hacer algo de invención directa, cosas con las que es más fácil ganar algo de dinero.
Tengo un par de ideas, productos de consumo que sé que serán fáciles de manufacturar y que se van a vender bien.
Pero espero que no les importe que de momento no comparta las ideas con ustedes.

Fuente de la imagen, Johnson R&D









